
IT之家 12 月 17 日消息,科技媒体 Windows Central 昨日(12 月 16 日)发布博文,报道称在美国专利商标局公示清单中,挖掘发现了微软提交的一项新专利,表明其计划将 Copilot AI 深度集成至 Windows 剪贴板中。
这项专利描述了一种能够暂存复制数据并利用 AI 进行智能处理的系统。与以往单纯的“复制粘贴”不同,新系统允许用户在粘贴前对内容进行“版本转换”或“格式重构”,这被外媒评价为微软近期最务实且真正具备生产力价值的 AI 创新。
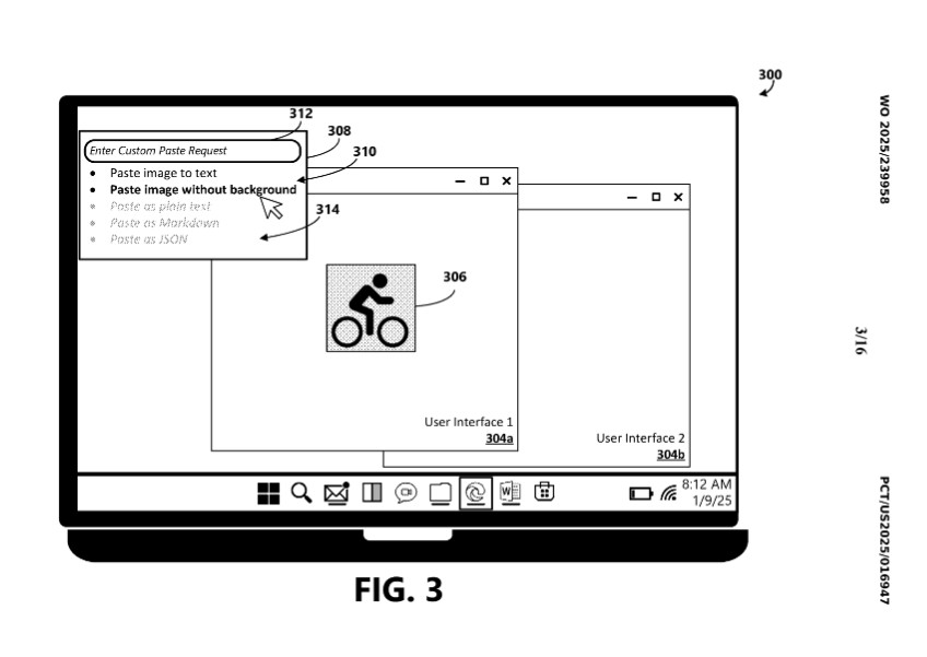
IT之家援引专利内容,这项增强版剪贴板的功能极为强大。对于普通用户,它支持一键移除复制图片中的背景,方便制作贴纸或演示素材;对于专业人士,它能将纯文本数据瞬间转换为结构化的表格,甚至直接生成适配网页的 HTML 代码。
此外,该系统还支持相互转换编程语言,并允许用户输入自定义提示词(Prompt),例如“将这段内容改为项目符号列表”。用户在执行粘贴动作前,可以预览所有 AI 处理后的结果,从而大幅减少了以往需要打开独立 AI 窗口进行格式调整的繁琐步骤。
虽然专利并不意味着一定会转化为最终产品,但这项功能的雏形实际上已经存在于微软的开源工具集 PowerToys 中。该功能被称为“高级粘贴(Advanced Paste)”,由 Windows 团队开发。
用户在安装 PowerToys 后,通过快捷键“Win + Shift + V”即可唤出界面。目前,基础的纯文本转换可直接使用,但若要体验更高级的 AI 转换功能,用户需要在设置中输入自己的 OpenAI API 密钥。
申宝策略提示:文章来自网络,不代表本站观点。